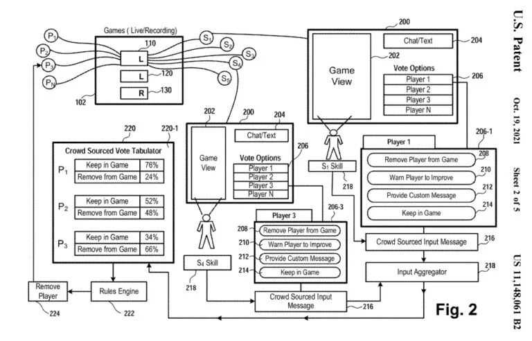
n00b1k 2 321 Опубликовано: 21 октября 2021 Поделиться Опубликовано: 21 октября 2021 Sony запатентовала платные кики. Донатеры смогут выкидывать неугодных из игрыЖурналисты VGC обратили внимание на патент Sony «Spectators Vote to Bench Players in a Video Game», который подали в январе 2020 года, а в минувший вторник 19 октября 2021 года был выдан. Предлагаемая в патенте технологи расширяет возможности зрителей, которые наблюдают за матчем. Они смогут голосовать за удаление (кикать) или отправку игроков на скамейку запасных, посылать им сообщения, чтобы предупредить «играй лучше», или даже заплатить за их удаление (кик). Источник: https://www.gametech.ru/news/2021/10/21/sony-zapatentovala-platnye-kiki-donatery-smogut-vykidyvat-neugodnyx-iz-igry Ссылка на комментарий Поделиться на других сайтах Больше способов поделиться...
DemosN 166 Опубликовано: 21 октября 2021 Поделиться Опубликовано: 21 октября 2021 Жду когда такое можно будет сделать во время футбольного матча. Ну а чо - скинулись по сотке и Федя Смолов пошёл скамейку полирячить. А за кошерный донат от Газпрома и Месси ему на замену вызвать можно будет.Вообще шик. Ссылка на комментарий Поделиться на других сайтах Больше способов поделиться...
AZRAEL 458 Опубликовано: 21 октября 2021 Поделиться Опубликовано: 21 октября 2021 Лол, скоро сонибои будут камвхорить с дуалсенсами в интересных местах Ссылка на комментарий Поделиться на других сайтах Больше способов поделиться...
DeadFalcon 2 584 Опубликовано: 21 октября 2021 Поделиться Опубликовано: 21 октября 2021 Это только к лучшему. Ссылка на комментарий Поделиться на других сайтах Больше способов поделиться...
55G 99 Опубликовано: 21 октября 2021 Поделиться Опубликовано: 21 октября 2021 Это только к лучшему.Так даже лучше. Ссылка на комментарий Поделиться на других сайтах Больше способов поделиться...
carib 458 Опубликовано: 21 октября 2021 Поделиться Опубликовано: 21 октября 2021 (изменено) Сони определяет будущее киберспорта Изменено 21 октября 2021 пользователем carib Ссылка на комментарий Поделиться на других сайтах Больше способов поделиться...
Dyons 109 Опубликовано: 21 октября 2021 Поделиться Опубликовано: 21 октября 2021 Осталось самая малость, родить онлин дрочильню в которую будет играть не 2.5 калеки Ссылка на комментарий Поделиться на других сайтах Больше способов поделиться...
twokot 240 Опубликовано: 21 октября 2021 Поделиться Опубликовано: 21 октября 2021 вау крута сони двигает прогрес Ссылка на комментарий Поделиться на других сайтах Больше способов поделиться...
AxLe_Rage10 23 Опубликовано: 22 октября 2021 Поделиться Опубликовано: 22 октября 2021 for the players Ссылка на комментарий Поделиться на других сайтах Больше способов поделиться...
NSerial 439 Опубликовано: 22 октября 2021 Поделиться Опубликовано: 22 октября 2021 Сониреволюции от которых всем будет только лучше Ссылка на комментарий Поделиться на других сайтах Больше способов поделиться...
Winni 733 Опубликовано: 22 октября 2021 Поделиться Опубликовано: 22 октября 2021 (изменено) есть предложение, давайте йоду из колды, батлы и ореха выкидывать! пусть в гольф играет бесплатный… хоть так сони получит с него хоть какие-то бабки, а то толку … Изменено 22 октября 2021 пользователем Winni Ссылка на комментарий Поделиться на других сайтах Больше способов поделиться...
zapolkk 346 Опубликовано: 22 октября 2021 Поделиться Опубликовано: 22 октября 2021 Сони за столько лет ни одну онлайн игру или мультиплеер живой не сделали, были попытки - не удачные. Зато что-то там для чужих игор пытаются сделать :DDD Ссылка на комментарий Поделиться на других сайтах Больше способов поделиться...
Cifra 1 286 Опубликовано: 22 октября 2021 Поделиться Опубликовано: 22 октября 2021 Сони за столько лет ни одну онлайн игру или мультиплеер живой не сделали, были попытки - не удачные. Зато что-то там для чужих игор пытаются сделать :DDDНу почему, в тлоу был неплохой мульт. Ссылка на комментарий Поделиться на других сайтах Больше способов поделиться...
Winni 733 Опубликовано: 22 октября 2021 Поделиться Опубликовано: 22 октября 2021 Ну почему, в тлоу был неплохой мульт.а он кстати много где был… но сплыл! у майков же во всяком старьё до сих пор все пашет. видать могут себе позволить сервера держать. бывает хочется чего-то такого иногда. Ссылка на комментарий Поделиться на других сайтах Больше способов поделиться...
dex3dec 3 Опубликовано: 22 октября 2021 Поделиться Опубликовано: 22 октября 2021 For the payers Ссылка на комментарий Поделиться на других сайтах Больше способов поделиться...
Wesker 3 Опубликовано: 22 октября 2021 Поделиться Опубликовано: 22 октября 2021 Задонатил на хлiбушек бедной бабе соне и остался играть сам с собой в онлайне, чё круто, на ПК все ныли что сервак пустой , вот времена то меняются Ссылка на комментарий Поделиться на других сайтах Больше способов поделиться...
Lithium 394 Опубликовано: 22 октября 2021 Поделиться Опубликовано: 22 октября 2021 Сначала пресс Х ту вин, а теперь пэй ту вин….браво Сони!!!! Ссылка на комментарий Поделиться на других сайтах Больше способов поделиться...
OkeyGoogle 178 Опубликовано: 22 октября 2021 Поделиться Опубликовано: 22 октября 2021 есть предложение, давайте йоду из колды, батлы и ореха выкидыватьА денех хватит? Ссылка на комментарий Поделиться на других сайтах Больше способов поделиться...
qbicus 1 369 Опубликовано: 22 октября 2021 Поделиться Опубликовано: 22 октября 2021 (изменено) Пригодится в кроссплее, кикать грязных биллибоев Изменено 22 октября 2021 пользователем qbicus Ссылка на комментарий Поделиться на других сайтах Больше способов поделиться...
McArt 14 Опубликовано: 22 октября 2021 Поделиться Опубликовано: 22 октября 2021 Сони определяет будущее киберспортаКак всегда дело говоришь, брат! Ссылка на комментарий Поделиться на других сайтах Больше способов поделиться...
Winni 733 Опубликовано: 22 октября 2021 Поделиться Опубликовано: 22 октября 2021 А денех хватит?если всем лендом хватит! присоединяйся! Ссылка на комментарий Поделиться на других сайтах Больше способов поделиться...
Cifra 1 286 Опубликовано: 22 октября 2021 Поделиться Опубликовано: 22 октября 2021 (изменено) Бредовая технология, против которой восстанут все пользователи. Т.е. я купил консоль, оплатил онлайн, а меня кикнуть может любой чел, у которого деньги из кармана сыпятся? Просто по приколу? Это дискриминация по материальному признаку. Очередной мертвый патент. Изменено 22 октября 2021 пользователем Cifra Ссылка на комментарий Поделиться на других сайтах Больше способов поделиться...
zapolkk 346 Опубликовано: 22 октября 2021 Поделиться Опубликовано: 22 октября 2021 Бредовая технология, против которой восстанут все пользователи. Т.е. я купил консоль, оплатил онлайн, а меня кикнуть может любой чел, у которого деньги из кармана сыпятся? Просто по приколу? Это дискриминация по материальному признаку. Очередной мертвый патент.Ну не все, вон Казаху нравится. Ссылка на комментарий Поделиться на других сайтах Больше способов поделиться...
OMG 369 Опубликовано: 22 октября 2021 Поделиться Опубликовано: 22 октября 2021 Ну почему, в тлоу был неплохой мульт.Да, я в него прямо залипал не по детски. Но... в поддержку Сони действительно плохо умеет. В игру могли бы добавить карт, но в итоге как-то даже не пытались развивать эту игру. Потенциал был - очевидно. Обидно, что и карты для TLOU по размерам были не большие, точно можно было подзапилить хоть несколько карт. Но мульт - это всегда еще и про долгую поддержку. Жаль. До сих пор жду мульт для ТЛОУ2. :( Ссылка на комментарий Поделиться на других сайтах Больше способов поделиться...
n00b1k 2 321 Опубликовано: 22 октября 2021 Автор Поделиться Опубликовано: 22 октября 2021 Пригодится в кроссплее, кикать грязных биллибоев На что только не пойдут кубинские раки, чтобы не сливать в игре Ссылка на комментарий Поделиться на других сайтах Больше способов поделиться...
Рекомендованные сообщения
Создайте аккаунт или войдите в него для комментирования
Вы должны быть пользователем, чтобы оставить комментарий
Создать аккаунт
Зарегистрируйтесь для получения аккаунта. Это просто!
Зарегистрировать аккаунтВойти
Уже зарегистрированы? Войдите здесь.
Войти сейчас